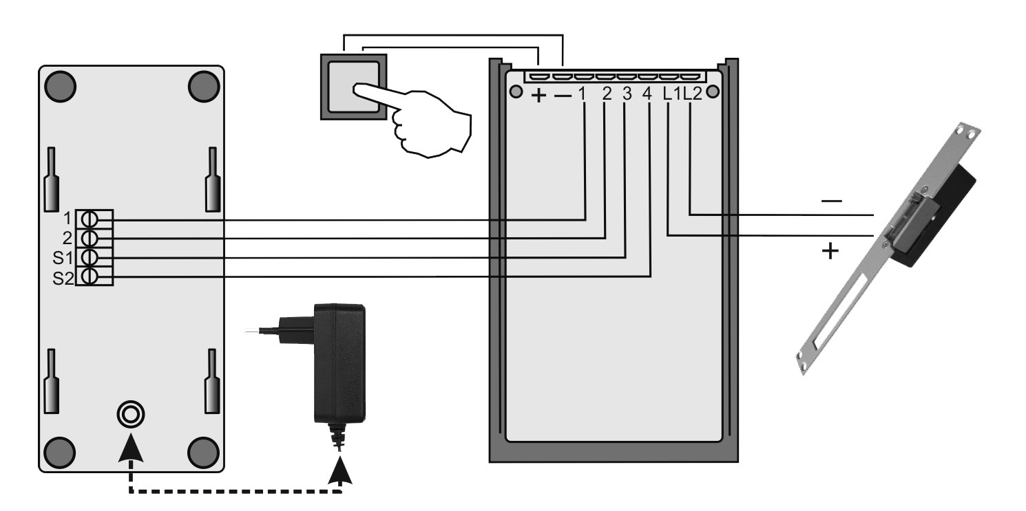
Teh-Tel audio interfonski komplet za jednog korisnika. Model interfonskog kompleta je SUPER STRONG 1. Na slušalici koja je bele boje se nalazi taster za otvaranje vrata. Poseduje i RFID čitač tagova koji radi na 125 MHz kao i 5 ključeva za korisnike i 2 administratorska ključa za programiranje. Pakovanje sadrži uputstvo na srpskom jeziku, kao i šemu povezivanja, tako da je montaža prilagođena ugradnji po sistemu “uradi sam”. Za otvaranje električne brave nije potreban dodatni trafo. Spoljna jedinica je metalna i predviđena za ugradnju na zid. Slušalica se povezuje bez polarizacije.
| Model kompleta: | Teh-Tel SUPER STRONG 1 |
|---|---|
| Radna frekfencija tagova: | 125 MHz |
| Broj korisničkih tagova u paketu: | 5 tagova, ključeva plave boje |
| Broj administratorskih tagova u paketu: | 2 taga, jedan za brisanje i jedan za dodavanje novih ključeva |
| Dimenzije slušalice: | 212 mm × 97 mm × 75 mm |
| Dimenzije unutrašnje jedinice: | 198 mm × 100 mm × 32 mm |
| Garancija: | 24 meseca |









Trenutno nema recenzija.